Description
Description
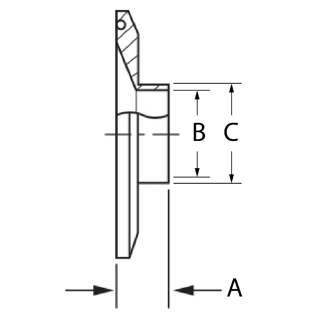
The 31WMP Tri-Clamp Reducing Ferrule is a sanitary fitting designed to connect Tri-Clamp ends to a smaller tube size. This reducing ferrule is 3A certified and is made of 316L stainless steel. If you require other sizes or materials please contact our sales team.
| Tri-Clamp End | Tube O.D. | A | B | C |
|
1-1/2" |
1" | 0.5 | 0.87 | 1.00 |
|
2" |
1" | 0.50 | 0.87 | 1.00 |
|
2" |
1-1/2" | 0.50 | 1.37 | 1.50 |
|
2-1/2" |
1-1/2" | 0.50 | 1.37 | 1.50 |
|
2-1/2" |
2" | 0.50 | 1.87 | 2.00 |
|
3" |
1-1/2" | 0.50 | 1.37 | 1.50 |
|
3" |
2" | 0.50 | 1.87 | 2.00 |
|
3" |
2-1/2" | 0.50 | 2.37 | 2.50 |
|
4" |
2" | 0.62 | 1.87 | 2.00 |
|
4" |
2-1/2" | 0.62 | 2.37 | 2.50 |
|
4" |
3" | 0.62 | 2.87 | 3.00 |
Manuals
Manuals
No manual available for download.

